詳細介紹
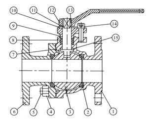
| 產品概述 球閥是一種重要的閥類,在石油化工、長輸管線等領域有廣泛應用。球閥的關閉件是一個帶孔的球體(或部分球),球體隨閥桿轉動,實現閥門的開啟或關閉。 在各種閥門中,球閥的流動阻力最小,全徑球閥打開時,球體通道、閥體通道和連接管徑相等并成一直徑,介質幾乎可以毫無損失的流過。 球閥旋轉90°即可全關全開,啟閉迅速。與相同規格的閘閥、截止閥比較、球閥體積小、重量輕,便于管道安裝。 主要性能規范
壓力試驗
主要零件材料
主要外型尺寸
規格主要尺寸
產品尺寸![]() | |||||||||||||||||||||||||||||||||||||||||||||||||||||||||||||||||||||||||||||||||||||||||||||||||||||||||||||||||||||||||||||||||||||||||||||||||||||||||||||||||||||||||||||||||||||||||||||||||||||||||||||||||||||||||||||||||||||||||||||||||||||||||||||||||||||||||||||||||||||||||||||||||||||||||||||||||||||||||||||||||||||||||||||||||||||||||||||||||||||||||||||||||||||||||||||||||||||||||||||||||||||||||||||||||||||||||||||||||||||||||||||||||||||||||||||||||||||||||||||||||||||||||||||||||||||||||||||||||||||||||||||||||||||||||||||||||||||||||||||||||||||||||||
溫馨提示:“Q41F不銹鋼浮動球閥”所有文字、數據、圖片均只適用于參考。
如需與實物相吻合的性能參數、結構尺寸參數等詳情請來電來函索取。
電話:021-68103333 傳真:021-51686322
如需與實物相吻合的性能參數、結構尺寸參數等詳情請來電來函索取。
電話:021-68103333 傳真:021-51686322

軟密封蝶閥視頻介紹





掃一掃關注我們